Article
Spectroscopy
Spectroscopy
Annex 11 to the EU's updated GMP regulations calls for periodic re-evaluation of computerized systems. This is what you need to know about the new rules.

In the first of a two part series, this month's column looks at interpreting the Annex 11 regulations and understanding the principles of a periodic review. The second part will discuss how to carry out the review and report it.
In my last Focus on Quality column we looked at the new European Union Good Manufacturing Practice (EU GMP) regulations, fousing on Annex 11 (computerized systems) and Chapter 4 (documentation) (1) that became effective on June 30 of this year. A new requirement in Annex 11 (2) is for periodic evaluation or periodic review. The regulation states in clause 11, "Computerized systems should be periodically evaluated to confirm that they remain in a valid state and are compliant with GMP. Such evaluations should include, where appropriate, the current range of functionality, deviation records, incidents, problems, upgrade history, performance, reliability, security, and validation status reports."
What is not stated in the regulation however, is the formality of the process. So how can we demonstrate to an inspector that periodic reviews have been carried out? Unless the reviews are formally documented, then you can't; it's as simple as that. So we will look at the overall process of a periodic review in this column and then in the next installment we will examine the practicalities of performing and reporting such a review.
Why perform a periodic review? This is probably one question that you may ask when reading the section above. In life, it is always better to use real examples to illustrate points you are trying to make because it demonstrates that other organizations can sometimes make bigger mistakes than you do. Take, for example, the following citation from a Food and Drug Administration (FDA) warning letter (3):
6. Your firm failed to check the accuracy of the input to and output from the computer or related systems of formulas or other records or data and establish the degree and frequency of input/output verifications [21 CFR § 211.68(b)].
For example, the performance qualification of your <redacted> system software failed to include verification of the expiration date calculations in the <redacted> system. In addition, there is no established degree and frequency of performing the verification. Discrepancy reports have documented that product labeling with incorrect expiration dates have been created and issued for use.
Your response states that you opened Investigation T-139 and you provide a January 29, 2010 through February 26, 2010 completion timeline. You have not provided a response to correct this violation and establish a corrective action plan to assure that computer systems are properly qualified.
The point is that the initial validation failed to check calculations in a computer system resulting in drug labels that were printed with incorrect expiry dates on them. Who picked up on the problem? The inspector! If the company had conducted a periodic review, this problem should have been identified by the reviewer, since it is an explicit requirement of the US GMP regulations, as noted in the warning letter. It is an obvious point for potential problems with any computerized system and the issue should have been identified and resolved long before the inspector strolled through the door for tea and cookies.
Although the Annex 11 regulation talks about a periodic evaluation (I have called it a periodic review), there are also laboratory audits carried out by the quality assurance departments. So are periodic evaluations, periodic reviews, or audits the same, or are they different? In my opinion, periodic reviews or periodic evaluations are one and the same, and are focussed on a computerized system, the process it automates, and the support processes for it. In contrast, an audit can cover a computerized system, a laboratory process, quality system, or a subset of any portion of the laboratory. Therefore, an audit can be the same as a periodic review or evaluation, but can also be a wider check of laboratory operations to ensure compliance with regulations and internal procedures. An audit also can cover computerized systems that are part of the process, but generally the scope of an audit is wider than a periodic review. Therefore, looked at from another perspective, periodic reviews are a subset of laboratory audits. Thus, in this column I will refer only to periodic reviews but this will include periodic evaluation and general audits that include computerized systems.
The topic of a periodic review that we will discuss is shown in Figure 1 and consists of two phases: planning and execution.
So we have established that the periodic review is an independent audit of a computerized system to determine if the system has maintained its validation status and, as said before, it is also a planned and formal activity. The first requirement for conducting a review is a standard operating procedure (SOP) covering the whole process. As a periodic review is a subset of an audit, the audit SOP should be relatively simple to adopt for a computerized system or you can use an existing audit SOP with a subsection for periodic reviews. The whole process should be described in the audit/review SOP and is shown in Figure 1.

Figure 1: Flow chart for a periodic review or audit of a computerized system.
I have depicted the process as two parts:
In this installment, we will focus mostly on the planning phase and will present the execution phase in an overview. The next installment will cover the execution phase in more detail.
There should be two main goals for a periodic review of a computerized system:
It is the second objective that is the most important, in my view. Moreover, it is an important outcome from any periodic review for senior management to realize that some controls may require systematic resolution. If a problem is found in a procedure that is used for all systems, the resolution of this may affect all computerized systems used in the laboratory rather than just the one being reviewed.
Annex 11 does not say who should carry out the periodic review. So let's consider the possibilities:
Hmmm, I can guess some of your answers. The point I want to make is that people directly involved with a computerized system have a vested interest in their system and cannot make an objective decision if an activity is under control and in compliance or not. QA may be appropriate to conduct a periodic review, but the individuals have to know about computerized system validation and understand the regulations and company procedures in relation to computerized systems; not many in QA fit these criteria.
So to help us answer the question, what do the regulations say about this? European Union GMP chapter 9 (4) discusses self inspections (for example, audits and periodic reviews) in about two-thirds of a page, and the key elements of these regulations can be summarized as follows:
So, from the perspective of the European regulations, we need a periodic review to be independent to ensure an objective and not subjective approach to evaluating your computerized spectrometer system. Indeed, the definition of independent is "not influenced or controlled by others; thinking or acting for oneself" (5). If a person who knew the system well were to perform a periodic review there is the possibility that he or she could miss something because it was familiar, that an independent reviewer could find. There is also the human tendency of a person involved in a system to focus on what they were doing well rather than the independent person who would be focusing on finding activities that were not compliant or could be done in a more efficient way. Therefore, independence of the person conducting a periodic review is of prime importance.
There are a number of requirements necessary for a person to effectively conduct a periodic review. These are
So that outlines a periodic reviewer's skill set. Now the reviewers have to perform the review, which we will discuss in part II of this series.
Putting the heading in a different way: Do we need to do a periodic review for all computerized systems? Well, the simplest answer to that question is to go back to clause 11 of Annex 11, quoted at the start of this column. It says "computerized systems," not critical ones or selected ones but all computerized systems. Therefore, this implies the need for categorization of computerized systems according to risk. Figure 1 shows the planning process, from the inventory to the annual schedule of periodic reviews to be conducted within an organization.
The starting point is the inventory of computerized systems contained in the laboratory validation master plan (10) that should be categorized according to risk. Some of the risk categories include critical, major, minor, no impact on good x practice (GxP), or high, medium, and low. You will want the most critical systems to be reviewed most often, as they pose the highest risk, and the lowest priority systems will be reviewed less frequently, as they pose the lowest risk. Most of the laboratory computerized systems featured in FDA warning letters are networked systems with multiple users, because they have the greatest impact.
From the inventory there will be developed a listing of the most critical systems: These will have the most frequent reviews to ensure that they are in control, with decreasing frequency for the major and minor systems. A review schedule for all computerized systems in the laboratory would be drawn up for the coming year. Typically, the schedule for the year will be written by the person responsible in QA the previous year and will list all systems to be reviewed and the months in which this will happen.
In my opinion, there are three or four possible times to review a computerized system:
Although you can conduct a periodic review at these times during the lifetime of a spectrometer system, the principles of what a review consists of and the way one is conducted are the same.
Periodic reviews and audits should carry a health warning. It is important to realize that all reviews and audits are sampling exercises. The reviewer will select the procedures, documents, or records to examine and draw conclusions based on them that are applicable to the whole process being examined. Therefore, it is important to realize that noncompliances may exist where none have been found and reported, simply because the sample taken by the reviewer did not contain any problems. Trained reviewers and auditors know this and will inform the process owner of this, especially at the end of the review and also in the report. This is also known by GLP and GMP inspectors, and the FDA puts virtually the same text into all warning letters to deserving organizations:
The deviations detailed in this letter are not intended to be an all-inclusive statement of deviations that exist at your facility. You are responsible for investigating and determining the causes of the deviations identified above and for preventing their recurrence and the occurrence of other deviations.
There are two points to note: First, the specific statement indicating that the inspection is a sampling process and that the list of deviations from the regulations is never complete and cannot ever be unless the whole laboratory is reviewed. Second, and most important, is that the users, laboratory management, and quality assurance have the responsibility for ensuring regulatory compliance. If you find a problem, it is your job, and not that of QA or the inspectorate, to resolve it.
Therefore, if you want to hide behind a clean periodic review report, but know that noncompliant working practices are going on that the reviewer has not picked up on them, you are deceiving yourself. Moreover, it means that if an inspector identifies a problem, especially one that you have known of and done nothing about, it means that the subsequent corrective action will be more stringent than if you had found the problem yourself and fixed it under your terms. It is better for you to have found the problem and be in the process of fixing it, rather than for an inspector to find it, as it demonstrates that you are doing your job responsibly and diligently.
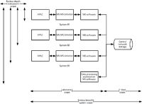
It is important to get the scope of the audit correct and not to miss anything that could be significant in an inspection or could lead to questioning the quality of the results generated by the system (for example, unvalidated or incorrect calculations). Figure 2 shows an example of a computerized system used for quantitative bioanalysis in a GLP-regulated laboratory. The system consists of three high performance liquid chromatography (HPLC) systems with mass spectrometry (MS) detectors; each instrument has the MS software installed on a workstation to control the instrument and then acquire and interpret the chromatograms. Data are acquired directly to a central server that is supported by the IT department. In addition, there is a single workstation used by analysts to interpret chromatograms and relieve congestion on the instruments themselves for processing data.

Figure 2: Scoping the periodic review of a computerized system.
The question is, How should a periodic review be scoped? From Figure 2 we can see that the system scope can be broken down into two parts. The breadth of the scope could include the portion of the system in the laboratory and the portion operated by the IT department. So the breadth of the audit needs to be decided: just the laboratory, just IT, or the whole system? As an aside, if the system had a server that is operated and maintained by the laboratory, then the whole system scope is the responsibility of the laboratory.
Then we need to determine the depth of the scope and determine how far to go reviewing the instrument and software aspects of the system. In the situation shown in Figure 2, each workstation has a separate installation of the MS software. Therefore, does the review take a sample from a single workstation and the attached instrumentation? From two, or all three installations? This is where risk management comes in. As the architecture of the overall system relies on three individual instances of the MS software that have to be set up (for example, users, access privileges, and software configuration) independently, do you want to know if the software instances are the same or not? How do you know that the three are the same? Although the installation and configuration documentation may say they are the same, has anything changed since then on one or more of the software instances? So, the depth of the review can depend on the technical aspects of the system — for example, individual installations of software with multiple software configurations versus a client server architecture where there is just a single configuration. Do not forget the data processing workstation as well, because it will be another individual installation and software configuration to consider.
Expressing a personal view, I would have a wide system breadth that would include both laboratory and IT aspects. The depth depends on the time available; in the case of Figure 2, I would review all instances to ensure equivalence, both on paper and in the software, but, again, this is dependent on the time available.
What is not shown in Figure 2 is whether the system has additional installations of the software for validation and training. When these are present, then the periodic review also needs to check them to see that they are correctly set up and equivalent to the operational system.
Also, consider an alternative to the system configuration in Figure 2: If the three systems were standalone with no reprocessing workstation, then the periodic review could cover three independent standalone systems. In this case, one aim of the review would be to demonstrate that the systems were equivalent and that similar results would be obtained from any one of them.

Figure 3: Types of audit or periodic review.
Ok, we now have the scope of the audit defined in terms of breadth and depth; what we now have to decide is how we will approach the review. There are three basic ways you could conduct a periodic review or audit, shown in Figure 3. These include the horizontal, vertical, and diagonal approaches:
In practice, all three types of auditing can be used effectively during a periodic review, depending on how much time there is available.
As mentioned above, a horizontal review can turn into a vertical one. For example, during a horizontal review of change control, the reviewer may ask to see three change requests selected at random from the list of change control requests; note the sampling process in the request. When examined and compared with the procedure, it may be found that two out of three requests did not follow the correct procedure. So the reviewer asks for three additional requests, again selected by the reviewer at random. When examined, two comply with the SOP and one does not. The reviewer now has a situation in which six change control requests have been reviewed and half comply with the procedure but, more worryingly, half do not. So what should the reviewer do? One alternative is to leave the change control process and complete the audit. The second is to dig further into the change control requests and the procedure to find out what is the true picture and leave the rest of the audit until the problem is investigated further. Because change control is such a vital mechanism for ensuring continued validation status, the archaeological excavation of the change control records should take precedence over the rest of the audit, in my opinion. Also, consider that there might be a systematic issue with change control that could affect all computerized systems in the laboratory. Therefore, the horizontal review turns into a vertical audit to discover how deep the problem goes: Has it been a consistent problem since the last review or has the problem only recently started?
Returning to the execution phase outlined in Figure 1, let's look at the various tasks in order, starting with writing the plan for the periodic review. This consists of a number of activities that cumulate in the plan:
What, I need to prepare for a periodic review? Yes! From the perspective of the reviewer, the individual needs to read up about the system and refresh his or her knowledge on any relevant SOPs that the system is validated and operates under. This means reading key documents such as
This approach allows the reviewer to have an understanding of the system and procedures before arriving to perform the review and to be able to do some research, if required, before the review starts, thus saving time while on site. A reviewer could ask for more documents than listed above, but there is always a balance between the quantity of material and time used to prepare for the review and the time on site; personally I prefer to prepare using the key documents and procedures.
The spectroscopists who will be subject to the audit also need to prepare. At the most basic level, tidy up the laboratory (you will be surprised how many laboratories do not do this). Also, check that all documents are current and approved. If there are any unapproved or unofficial documents, they must be removed from desks and offices and destroyed. There are also other areas where the laboratory can prepare — for example, by reading the current procedures and ensuring that training records are up to date.
After the review plan has been written and approved and the reviewer has prepared for the review, the great day dawns and the review takes place. As can be seen in Figure 1, the activities that take place consist of the following steps:
All the activities listed in this section will be discussed in more detail and the second part of a periodic review will be addressed in the next "Focus on Quality" column.
In this installment, I have looked at a periodic review or evaluation for computerized systems. The function is an independent audit to confirm that a system maintains its validated status and to identify any areas of noncompliance. In the next installment, I will discuss conducting the periodic review, who is involved, and reporting the observations and findings.
R.D. McDowall is principal of McDowall Consulting and director of R.D. McDowall Limited, and the editor of the "Questions of Quality" column for LCGC Europe, Spectroscopy's sister magazine. Direct correspondence to: spectroscopyedit@advanstar.com

R.D. McDowall
(1) R.D. McDowall, Spectroscopy 26(4), 24–33 (2011).
(2) EU GMP Annex 11, Computerized Systems.
(3) FDA Warning letter, AVEVA Drug Delivery Systems, Inc., 21 May 2010.
(4) EU GMP Chapter 9, Self Inspections.
(5) Webster's Dictionary (www.merriam-webster.com/dictionary).
(6) FDA Guidance for Industry, Computerized Systems in Clinical Investigations, 2007.
(7) GAMP Guide, version 5, 2008, Appendix 08, Periodic Reviews.
(8) GAMP Good Practice Guide: Risk Based Approach to Operation of GXP Computerized Systems, 2010, Section 12: Periodic Reviews.
(9) C. Burgess and R.D. McDowall, QA Journal 10, 79–85 (2006).
(10) R.D. McDowall, Spectroscopy 23(7), 26–29 (2008).

Get essential updates on the latest spectroscopy technologies, regulatory standards, and best practices—subscribe today to Spectroscopy.